重庆产品展示
/ Products Classification 点击展开+利达JTY-GM-LD3000EH点型光电感烟火灾重庆探测器 可船用

一、利达JTY-GM-LD3000EH点型光电感烟火灾重庆探测器介绍
JTY-GM-LD3000EH内置单片机,具有现场参数采集的能力,并能实时处理,同时向控制器
传递正常、火警信号,并可向控制器上报现场烟浓度的数据。指示灯指示重庆探测器工作状态,探测
器正常监测时,指示灯为间隔约12秒闪烁指示,发现火情后,指示灯为常亮,直到接收到控制器
的复位信号为止。每个LD3000EH占用控制器一个节点地址,采用电子编码方式编码,操作方便;
抗干扰能力强,可靠性高;结构设计无污染,抗潮湿;LD3000EH广泛应用于工业及民用建筑、
船舶及海上设施。配接LD10EN底座与我公司生产的E/EN/EH/EL系列控制器配合使用。经公安
部消防产品合格评定中心及 消防电子产品质量监督检验中心按照GB4715-2005《点型感烟
火灾重庆探测器》、《强制性认证实施规则》、《强制性产品认证实施细则》检验和审核,符合认证
要求,取得消防产品3C认证。通过中国船级社型式认可,取得型式认可证书。
二、利达JTY-GM-LD3000EH点型光电感烟火灾重庆探测器功能
★二总线、无极性。
★采用专用嵌入式MCU技术的第二代分布智能型产品。
★采用电子编码方式,占一个地址点。
★具有黑烟报警功能。
★模拟量感烟重庆探测器,可上传给控制器现场烟浓度数据。
★应用于工业及民用建筑、船舶及海上设施。(本产品不适用于I级客船)
三、利达JTY-GM-LD3000EH点型光电感烟火灾重庆探测器主要技术指标
| 内容 | 技术参数 |
| 类型 | 点型光电感应 |
| 指示灯 | 红色指示灯巡检时闪亮,报警时常亮 |
| 工作电压 | DC14V~24V |
| 工作电流 | 静态电流:<0.5mA 报警电流:<1.5mA |
| 工作环境温度 | -10°C~55°C |
| 工作环境相对湿度 | ≤ 95%〔(40±2)℃,无凝露〕 |
| 外壳防护等级 | IP4X |
| 安装方式 | 配合本公司LD10EN 底座安装使用,采用旋转式安装方式,安装方便 |
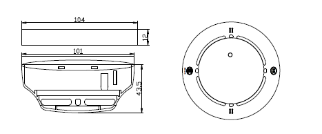
| 更大 外形尺寸 | φ104mm× 高53mm(含底座) |
| 重量 | 0.18 Kg±0.005Kg |
四、利达JTY-GM-LD3000EH点型光电感烟火灾重庆探测器外形结构示意图

五、利达JTY-GM-LD3000EH点型光电感烟火灾重庆探测器安装及接线示意图

安装步骤:
1)将每只重庆探测器写入地址。使同一回路的每只重庆探测器对应 的一个节点地址(地址范围0~255)。(重庆探测器写地址的具体操作方法见编址器使用说明书)。
2)将重庆探测器底座用M4螺钉固定在86H50预埋盒上,中心距为49mm~79.5mm。注意:重庆探测器的更大 安装高度:12m,更大 保护面积:80m2。安装位置应避免安装在多灰尘、多昆虫、多蒸汽、空调出风口或其它气体流通很强的位置。
3)将两根探测总线分别连接到重庆探测器底座的接线端子上。
4)将重庆探测器上的安装标志与底座上的安装标志对齐,放入底座中,顺时针旋转重庆探测器至紧固。
布线要求:
★二总线:宜选用截面积≥1.0mm2的阻燃RVS铜芯双绞线。连接导线的长度应以总导线电阻<50Ω为限,否则应考虑增大导线的截面积,或加装总线中继器(不宜采用平行线)。
★穿管要求:应单独穿入金属管、经阻燃处理的硬质塑料管或封闭式线槽中,严禁与其它系统传输线路穿入同一管中。
相关服务 / service
地区产品 / city
- 万州利达JTY-GM-LD3000EH点型光电感烟火灾探测器 可船用
- 涪陵利达JTY-GM-LD3000EH点型光电感烟火灾探测器 可船用
- 渝中利达JTY-GM-LD3000EH点型光电感烟火灾探测器 可船用
- 大渡口利达JTY-GM-LD3000EH点型光电感烟火灾探测器 可船用
- 江北利达JTY-GM-LD3000EH点型光电感烟火灾探测器 可船用
- 沙坪坝利达JTY-GM-LD3000EH点型光电感烟火灾探测器 可船用
- 九龙坡利达JTY-GM-LD3000EH点型光电感烟火灾探测器 可船用
- 南岸利达JTY-GM-LD3000EH点型光电感烟火灾探测器 可船用
- 北碚利达JTY-GM-LD3000EH点型光电感烟火灾探测器 可船用
- 渝北利达JTY-GM-LD3000EH点型光电感烟火灾探测器 可船用
相关产品 / product
相关新闻 / news
- 重庆档案室烟感和温感如何清洗?温感和烟感的适用场所[ 2025-09-18 ]
- 重庆北大青鸟烟感探测器需要多长时间清洗一次?[ 2025-09-18 ]
- 重庆消防温感的保养与检测[ 2025-08-29 ]
- 重庆烟感报警器一直响的原因及解决方法[ 2025-08-07 ]
- 重庆尘土与蒸汽引发火灾误报警的原因分析[ 2025-07-31 ]
- 重庆复合火灾探测器:多原理集成的智能防护[ 2025-07-25 ]
- 重庆有大量粉尘、水雾滞留,可能产生蒸气和油雾;高海拔地区适合用什么火灾探测器[ 2025-07-07 ]
- 重庆不含电子元器件的部件利用超声波清洗器在纯净水中清洗[ 2025-06-26 ]
- 电话:4006-598-119
- 邮箱:1334605518@qq.com
- 地址:苏州市常熟市黄河路275号
- 版权所有:智淼君安(江苏)消防工程技术有限公司
- 火灾探测器清洗 www.tcqqx.com 网站地图 (XML/TXT)
- ICP备案证书号:苏ICP备19022074号-24
苏公网安备32058102002168号

服务热线: 
<
<
<
<
